本文转载自:销售与管理(ID:Marketing360)
曾经,我们有许多赫赫有名的老字号,但随着时间的流逝,大部分因为各种原因而逐渐暗淡,陨落谷底。
有着百年历史的云南白药也曾面临这样的危险。20世纪90年代,在美国强生等一批跨国巨头的冲击下,这个中华老字号几乎快要被压垮,直到一个年轻人的出现,硬生生改变了这家企业的命运。
这个人就是王明辉,他带领着云南白药从一个死气沉沉的老字号变身为中药行业龙头企业,从一家单纯的制药企业,成功转型为消费品企业,被誉为“中国版强生”。

王明辉
不过,最近云南白药的一则公告,也宣示着属于“王明辉的时代”谢幕了。
据云南白药3月6日晚间公告,因个人原因,王明辉申请辞去公司董事长、董事、董事会战略委员会委员,以及在云南白药及其控股子公司的一切职务。
01
提起云南白药,很多上了年纪的人首先想到的是白色粉末状的东西,用来包扎伤口。年轻一点的朋友,想到的可能是云南白药牙膏。但很多人不知道的是,云南白药还生产洗发水、面膜、香皂……
事实上,如果你稍微了解一下云南白药的发展史就会发现,它不仅有辉煌的现在,更有可歌可泣的过往。
云南白药的创始人曲焕章,年轻时得到武当派道医姚洪钧真传,总结,成功研制除了一种白药,取名为“百宝丹”,这也是云南白药的前身。

曲焕章
1935年红军长征过云南,截获了一批国民党的物资,其中就有白药,毛泽东指示将这批白药给各军团都发一些,很多受了伤的战士都靠这批白药治好了伤,得以走完长征。
1938年3月,著名的台儿庄战役打响。曲焕章出于爱国之心,捐出三万瓶百宝丹给云南的官兵们。据传,在战场上,一支来自云南的部队作战骁勇,他们每个人身上绑一瓶白色药粉,他们轻伤不下火线,只要能动,外敷一点这种药粉,就能继续上阵杀敌。之后,台儿庄战役大捷,这批滇军的表现让人刮目相看,而他们身上的白药更是令人印象深刻。可以说,曲焕章的百宝丹对台儿庄战役的胜利也做出了一定贡献。
在那个战争年代,百宝丹成为很多人眼中的救命神药,这也给曲焕章带来了麻烦。他先是因为给土匪看病,被控告通匪,后来又被重庆国民政府逼着交出药方,他不肯妥协,最后在软禁中含冤病逝,终年58岁。
直到1955年,曲焕章的妻子将药方无偿送给了新成立的人民政府,由昆明制药厂生产,并改名为云南白药。此后,该药方被国家列为保密配方。同样享受这一待遇的,只有片仔癀等少数几味中药。
1971年,按照周总理的批示,云南白药正式建成投产,昔日老字号也终于迎来了平稳的发展期。但直到1993年改制上市前,云南白药厂一直依惯性缓慢前行。
值得一提的是,就在云南白药打算上市前的1992年,美国强生公司突然闯进中国市场,带来一种革命性的产品——邦迪创可贴。当时在市场上,云南白药散剂是小伤口护理的老大,但邦迪凭借便捷和低价,迅速就抢占了市场,一度把云南白药压的抬不起头。到1999年,云南白药散剂的年销量已从鼎盛时的几千万瓶暴跌到几百万瓶。

就在这危急时刻,上级的一纸调令把37岁的王明辉推到了云南白药总经理的位置,希望他能带领这家企业完成蜕变。
02
在来云南白药之前,王明辉一直在昆明制药厂工作,是一名主管销售的副总裁。
作为一名“空降兵”,戴着眼镜,文质彬彬的王明辉从一开始就不受下面人的待见,当时很多人都觉得,你一个30多岁的年轻人能有什么真本事,而他则用雷厉风行的改革证明了自己。
在王明辉接手后,他发现公司的业绩一团糟,手下的人也十分懒散,大家都抱着一种得过且过的心态在干事。他开始了大刀阔斧的改革,全面实行“内部创业机制”、末位淘汰机制和奖励机制;推行首席科学家制,个人收入与研究成果挂钩。
在这一系列的举措下,云南白药的销售业绩迅速扭转颓势,开始直线上升。
当时,云南白药最大的问题是产品单一老化,王明辉给出的解决方案也很出人意料,他把国宝秘方当成“添加剂”,将其加到成熟产品中去,从而演化出一个个新产品。凭借这一颠覆性的策略,王明辉带领云南白药杀入了全新的领域。
首先就是从创可贴下手。当时,这个市场基本被美国邦迪统治,很多本土的企业只能用比邦迪便宜一半的价格,才能分到一点残羹冷炙。但在王明辉的眼里,邦迪也并非毫无弱点,它只能止血,却没有疗伤的功效。这就给了云南白药机会,王明辉和团队想到,可以在胶布里加点白药,加以宣传。

这是一个非常大胆的想法,因为白药是国家保密配方,此前大家一直是围绕这个核心去做文章,但王明辉却把它当“配角”。好处是,这种做法等于改写了市场规则,而且白药是不可复制的,一旦建立起新规则,将无人能够超越。
但接下里还有一个问题,因为创可贴不是单纯的药物,它结合了材料科学,而这是云南白药之前从未涉足过的领域。
王明辉的脑子很活,他心想自己不会做,我可以找会的人合作。
于是,他们采用了美国3M公司的材料,又委托有技术优势的德国拜尔斯道夫公司生产,功效部分则是云南白药的精华。2001年,云南白药创可贴正式上市,当年即实现3000万的销售额。
由于云南白药创可贴不仅有止血功效,还能够镇痛、消炎、愈创,很快就对强生的邦迪形成碾压之势。到2007年,其市场占有率已达40%,成为全国市场的老大。
在创可贴领域打败了美国企业之后,王明辉和团队再次创造了一个神话,那就是云南白药牙膏。
牙膏的成功,和创可贴走的路子基本相同。只不过,在牙膏市场上,云南白药要面对的困难更大。因为此时的国内市场上,中华、高露洁、佳洁士等外资品牌控制了2/3以上的市场,它们的背后站着宝洁、联合利华等国际巨头。
而想要从这些巨头嘴里抢食,这对于完全没有日化产品经验的云南白药来讲,难如登天。不过,王明辉还是从夹缝中看到了商机。
他在一次偶然中得知,有人因为牙龈出血,刷牙时会将白药撒在牙膏上来止血。此时,王明辉立刻有了将白药加到牙膏里的想法,在宣传时,云南白药也将简单的刷牙变为了护理过程。
2005年,云南白药牙膏正式问世,并请来了黄晓明进行代言。虽然定价比普通牙膏贵一些,但仍有大批消费者愿意为之买单,当年营收高达8000万。2015年,云南白药牙膏销售额已突破40亿元,市场份额仅次于黑人牙膏。

之后,云南白药又相继推出护肤品、沐浴露、洗发水套装等等,产品线进一步扩展。
在云南白药发展的关键阶段,王明辉都是重要的参与者,甚至是决策者,对云南白药的发展发挥了重要作用。
值得一提的是,在这些成绩的背后,也发生了陈发树入股云南白药堪比精彩财经小说的故事。
03
在云南白药的发展过程中,也发生了一系列惊心动魄的故事。
其中,最为经典的案例当属福建首富陈发树与云南白药的恩怨情仇。

陈发树
陈发树与云南白药的渊源可以追溯至2007年。
这一年,陈发树在参加长江商学院课程时,认识了一位云南白药的领导,在对方的一番介绍下讲解下,陈发树当时就认为,这是一家非常好的医药企业,如果未来能做好,市值达到千亿也不难。
2008年,陈发树第一次从报纸上看到了红塔集团打算转让云南白药股权的消息,出于对这家企业的看好,豪气的陈发树甚至提前把22亿元一次性打入红塔账户,获得了云南白药12.32%股份。交完钱当天,陈发树抑制不住内心兴奋,还搞了个庆祝会。
但天不遂人意,后来的情况超乎陈发树的预料,钱给了,但股权却迟迟一直过不了户,直到自己去催,才意识到“被骗”了。
这项交易之所以一直落不了地,是因为其中一则附加条款:转让协议必须经过国有资产监督管理机构的批准。这也就意味着,如果上级不批准,陈发树就一直拿不到股份。
而这些或许是红塔集团部分高层一开始就算计好的。
事实上,出让云南白药的股权,并非是红塔集团的自愿行为,而是为了执行中国烟草总公司提出的“烟草企业退出非烟投资”“回归主业”大战略。而这项附加条款,就是不想转让的部分高层故意加进去的。
2011年,在海南三亚,云南红塔的经办人对陈发树说:股权给不了,但会用其他方法给一点补偿。
听到此话,陈发树勃然大怒,直接扭头就走。
2011年12月8日,陈发树一纸诉状把红塔集团告上了法庭。
这场直接冲撞红塔集团的官司,在一开始就被视为鸡蛋碰石头,并遭到周围很多人的反对。

但陈发树是个执著的人,他说,“我就是认为有理走遍天下,钱交了,东西不给,就是不行。”
这场官司前前后后打了2年时间,从云南高院一直打到最高院,也被民间视为“中国最大的一起股权投资官司”,也是民企与国企对簿公堂的经典案例,直到2014年7月才落下帷幕。
为了这个官司,陈发树付出了高达1700万的诉讼费,虽然要回了自己22亿的本金和利息,但最终还是败诉,股份没拿到手,与云南白药失之交臂。
在这场官司失败后,陈发树并没有放弃对云南白药的关注,终于,他等来了机会。
2016年7月,云南白药发布重大事项停牌公告,公司实际控制人云南国资委正与白药控股筹划推进混合所有制改革。
在2016年初混改方案出炉后,云南省就邀请了包括华润、复星、平安等在内的多家企业前来应标。在第一轮答辩中,华润因属于国企不符合条件退出,复星以做短期交易为主,不符合公司长期发展要求退出,最后仅剩下平安和陈发树的新华都。
2016年7月,云南省国资委最终敲定陈发树为合作伙伴,并答应陈发树提出的停牌要求。一个月后的定价谈判环节,陈发树用5分钟陈述、5秒钟拍板,最终敲定了这笔254亿元的投资。
之后,白药控股的股权结构变更为:云南省国资委、陈发树的新华都实业和江苏鱼跃,分别持股45%、45%和10%(之后进行重组,陈发树与云南省国资委一直保持相同持股比例)。

至此,陈发树历经9年曲折,耗资逾两百多亿,终于圆梦入股云南白药。
04
云南白药之于云南,就如茅台之于贵州,都是本地一张响当当的名片。
在2017年所有云南上市公司中,云南白药是业绩最好、利润最高的一家公司。
随着陈发树登上董事长位置,这位个人风格明显的民营企业家似乎想在资本市场上大肆运作一番,迷上了炒股,先后买入了贵州茅台、恒瑞医药、中国生物制药、腾讯控股和小米集团等股票。
据新浪财经2023年2月底报道,云南白药动用炒股资金累计超两百亿元,2019年至2021年分别为10.39亿元、138.34亿元和106.87亿元。
随着2021年资本市场的走弱,云南白药的投资也遭遇了滑铁卢,其中,仅投资小米集团就亏损14.01亿元。2021年,云南白药净利润同比下降49.17%,这也是其上市以来的历史业绩最大降幅。
到了2022年底,云南白药发了一则公告,大概意思就是,不再投资新的股票,现持有的股票也会在合适时机卖掉。
此外,从目前的市值来看,云南白药已经“完败”片仔癀,交出了“中药一哥”的宝座。
更重要的是,云南白药目前还有一个最大的困境——公司处于无实控人状态。
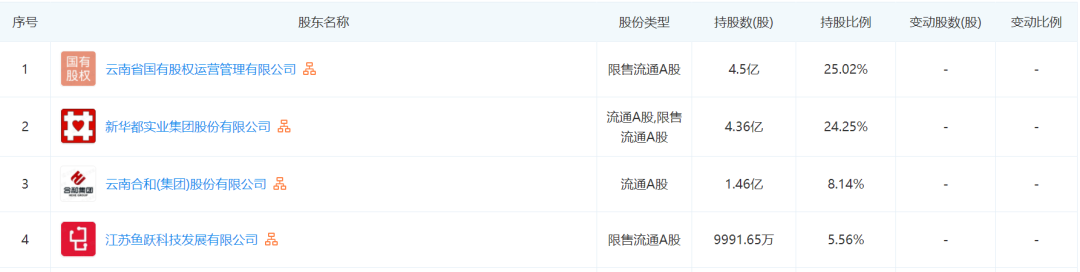
根据云南白药2018年的重组预案,云南省国资委和新华都及其一致行动人持股比例均为25.1%,并列为公司第一大股东,均未取得上市公司控制权。


(根据最新数据显示,陈发树总共持有24.95%股份,与云南国资25.02%的持股份额相当)
当时就有人认为,云南白药这种无实控人的股权设计,会给以后的经营埋下重大隐患,这种观点似乎已被事实佐证。
其次,无实控人下,大股东存在现金分红式退出动机。数据显示,云南白药混改前,其现金分红比例维持在30%左右,而混改后,现金分红比例大幅提升。2019年现金分红比例更是高达九成。
换言之,近年云南白药的利润大部分被股东以现金方式分走。这种分红方式也引来了监管的注意。
2022年11月,云南证监局直指云南白药公司存在治理不规范、内部控制不完善、财务核算不规范等问题,公司也被要求及时进行整改。
俗话说的好,企业要发展好,离不开一个好的主事人。
目前,要使云南白药解决一系列问题,重新回到“中药一哥”的宝座上来,恐怕最需要解决的是公司谁说了算的问题。

1、本文只代表作者个人观点,不代表星火智库立场,仅供大家学习参考; 2、如若转载,请注明出处:https://www.xinghuozhiku.com/300675.html